1.Полевые сдвижные установки в шурфе.
Такие испытания обычно производят в глинистых (связных) грунтах, находящихся в плотном
состоянии. В шурфе или котловане оставляют "целик" грунта естественной
плотности и нагружая его вертикальной и горизонтальной нагрузками, производят его
сдвиг, т.е. разрушение, измеряя при этом полученные деформации и усилия.

Схема испытаний связного грунта не нарушенной структуры в шурфе.
2.Методы разрушения призм грунта в шурфе.
Данные испытания подобны предыдущим, однако испытания проводят для призмы грунта.
В результате также определяют сдвиговые напряжения, необходимые для вычисления основных
прочностных характеристик: сцепления и угла внутреннего трения.

Схема испытаний призмы связного грунта в шурфе.
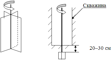
3.Испытание 4-лопастным прибором (крыльчатка).
Такие испытания обычно проводятся с мобильных установок, позволяя заглублять штангу
с лопастной крыльчаткой на заданную глубину. Испытания могут проводиться и из скважин,
что позволяет существенно снизить сопротивление штанги вдавливанию и таким образом
достичь необходимой заданной глубины.Подобных испытаний можно сделать достаточно
много на пятне застройки сооружения (что является их основным достоинством), однако
они могут быть применены лишь только для слабых оснований.

Четырёхлопастной прибор "крыльчатка", предназначенный для испытания слабых
грунтов в скважинах.
Полевые методы наиболее полно учитывают структурно-текстурные особенности грунта.
Они незаменимы при исследовании торфов (крыльчатка), глинисто-щебеночных или песчано-гравелистых
отложений (испытания в шурфе), взятие образцов ненарушенной структуры которых невозможно.
Их основные достоинства и недостатки:
Достоинства:
- Получение характеристик грунтов непосредственно на месте строительства объекта.
Недостатки:
- Дороговизна.
- Большая трудоёмкость.
- Получение ограниченного числа характеристик.
Специализированная автомобильная установка может выполнять несколько функций, определять
прочностные и деформативные свойства грунтов на различной глубине.
В настоящие время в практике изысканий для строительства используются мобильные
автоматизированные установки, оснащенные современным измерительным оборудованием.
Такой автомобиль, изображенный на видео, может выполнять несколько функций, например,
определять прочностные и деформативные свойства грунтов на различной глубине. Результаты
измерений записываются в автоматическом режиме, что позволяет значительно сократить
время проведения исследований.